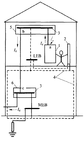
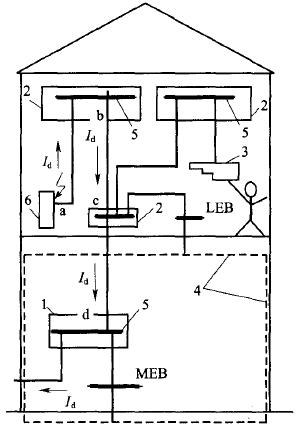
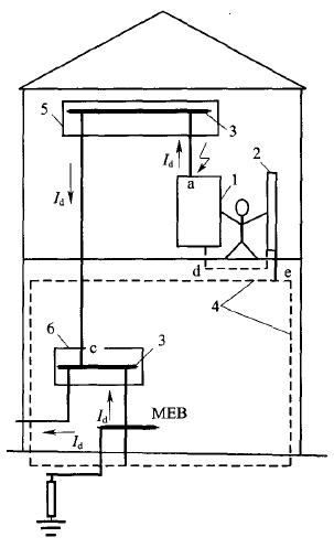
5.2 间接接触防护的自动切断电源防护措施 (Ⅰ)一般规定 5.2.1 本条是对原规范第4.4.2 条的修改条文,因IEC 60364系列标准转化为我国标准的GB 16895 系列国家标准中没有“接地故障保护”这一术语,故本次规范修改将其按GB 16895系列国家标准中的说法称作“间接接触防护中自动切断电源的防护措施”。这些措施针对的是相导体因绝缘损坏对地或与地有联系的导电体之间的短路,包括相导体与大地、保护导体、保护接地中性导体、配电和用电设备的金属外壳、敷线金属管槽、建筑物金属构件、给排水和采暖、通风等金属管道以及金属屋面、水面等之间的短路,这种短路均与接地有关。当发生接地故障并在故障持续的时间内,与它有电气联系的电气设备的外露可导电部分对大地和装置外可导电部分间存在电位差,此电位差可能使人身遭受电击。间接接触防护措施因接地系统类别不同而异,故这种保护比较复杂,国际电工标准和一些技术先进的国家对它都很重视、对其危害的防范都作出了具体规定。 本条和原规范第4.4.2条在文字表述上有所不同外,其内容是一致的。需要强调的是,切断故障电路是间接接触防护的措施之一,但不是唯一的措施,也可采用其他措施。 5.2.2 根据现行国家标准《电击防护 装置和设备的通用部分》GB/T 17045 的有关规定,电气设备共分为0、Ⅰ、Ⅱ、Ⅲ 四类。 人体受电击时安全电压限制为50V,系根据现行国家标准《电流对人和家畜的效应 第1部分:通用部分》GB/T 13870.1-2008(等同采用IEC/TS 60479-1:2005)的规定,在干燥环境下当接触电压不超过50V时,人体接触此电压不会受伤害。 5.2.3 电气装置的外露可导电部分与保护导体相连接可以降低接触电压值,亦可以提高保护电器的动作灵敏度。 5.2.4 等电位联结可以更有效地降低接触电压值,还可以防止由建筑物外传入的故障电压对人身造成危害,提高电气安全水平。 条文中“可接用的建筑物金属结构部分”,是指在施工中便于进行联结的楼板、梁、柱、基础等建筑构件中的钢筋。这些钢筋都必须加以利用,使其成为总等电位联结的一部分:实际上钢筋之间、钢筋与各种金属管道之间因自然接触而连通,这也可以认为满足总等电位的要求。 5.2.5 总等电位联结虽然能大大降低接触电压,但如果建筑物离电源较远,建筑物内保护线路过长,则保护电器的动作时间和接触电压都可能超过规定的限值。 这时应在局部范围内再做一次等电位联结即局部等电位联结,见图3。局部等电位联结之前,图中人的双手承受的接触电压为电气设备与暖气片之间的电位差;其值为a—b—c段保护导体上的故障电流产生的电压降,由于此段线路较长,电压降超过50V,但因离电源距离远,故障电流不能使过电流保护器在5s内切断故障线路。为保障人身安全,应如图虚线所示做局部等电位联结。这时接触电压降低为a—b段的保护导体的电压降,其值小于安全电压限值50V。 图3 局部等电位联结的作用 1-电气设备;2-暖气片;3-保护导体;4-结构钢筋; 5-末端配电箱;6-进线配电箱;Id-故障电流 如果做辅助等电位联结,即将电气设备与暖气片直接连接,如图4虚线所示,这时人体承受的接触电压接近0。 图中MEB和LEB分别为总等电位联结和局部等电位联结端子板。 上例说明局部等电位联结和辅助等电位联结的目的在于使接触电压降低至安全电压限制50V以下,而不是缩短保护电器动作时间。 为使接触电压不超过50V,应使: IdR≤50V(1) 式中: Id——故障电流(A)。 故障电流Id应大于等于式(5.2.5)中的Id,故: R≤50/Id (2) 上式即可对局部等电位联结和辅助等电位联结的有效性进行验证。 图4 辅助等电位联结的作用 1-电气设备;2-暖气片;3-保护导体;4-结构钢筋; 5- 末端配电箱;6-进线配电箱;Id-故障电流 (Ⅱ)TN 系统 5.2.8 接地故障回路的阻抗包括电源、电源到故障点之间的带电导体以及故障点到电源之间的保护导体的阻抗在内的阻抗,通常是指变压器阻抗和自变压器至接地故障处相导体和保护导体或保护接地中性导体的阻抗。因TN系统故障电流大,故障点一般被熔焊,故障点阻抗可忽略不计。 Ia是保证保护电器在规定时间内切断故障回路的动作电流,其值必须保护电器在规定时间内动作,且应考虑保护电器动作的灵敏度与可靠性。 5.2.9 固定式电气设备发生接地故障时,人体触及它时通常易于摆脱,并综合考虑其他因素,如避免发生线路绝缘烧损、电气火灾、线路在接地故障时的热承受能力、躲开电动机启动电流的影响和保护电器在小故障电流下的动作灵敏度以及线路的合理截面等,IEC标准将所有接地系统切断固定式电气设备和配电干线的允许最长时间规定为5s。 供电给手持式和移动式电气设备的末端配电线路,其情况则不同。手持式和移动式电气设备因经常挪动,较易发生接地故障。当发生接地故障时,人的手掌肌肉对电流的反应是不由意志地紧握不放,不能摆脱带故障电压的设备而使人体持续承受接触电压。为此,依据IEC标准的相应规定,作了切断供给手持式电气设备和移动式电气设备的末端线路或插座回路的时间规定。 5.2.10 在TN系统中,自同一配电箱或配电干线直接引出的不同回路,有的给固定式电气设备供电,有的给手持式或移动式电气设备供电,由于两种回路发生接地故障时对切断电源时间要求不同可能导致的电击危险是比较容易理解的,如图5所示。 当固定式电气设备发生接地故障时,故障电流经a—b—c一段保护导体返回电源,如果b—c线段很长,其上的故障电压降将远远超过50V,该故障电压通过保护导体传到手持式设备,由于固定式电气设备切断故障回路的时间允许达5s,在这段时间内,使用手持式电气设备的人如果站在地面上将遭受电击的伤害。如果为保证安全,使固定式电气设备在0.4s内切断电路,将会有很多线路放大线芯截面。如果采用以下两种办法可以解决问题:①将末端配电箱至总等电位联结回路的这段保护导体阻抗降低至小于等于式(5.2.10)的要求;②可以在该配电箱处做局部等电位联结,以降低该场所内保护导体的长度或阻抗,减少电位差,如图5中虚线所示。 图5 同一配电箱或配电干线直接引出的不同回路 1-连线配电箱;2-末端配电箱;3-手持式电气设备;4-结构钢筋; 5-保护导体;6-固定式电气设备 对于由同一配电箱或配电干线间接给固定式、手持式和移动式电气设备供电的情况,由于上述同样原因导致的电击危险则容易被忽略,如图6所示。 由同一配电箱1供电给不同的配电箱,其中一个配电箱给固定式电气设备供电,另一个配电箱给手持式电气设备供电。当固定式电气设备发生接地故障,故障电流经a—b—c—d一段保护导体返回电源,如果c—d线段很长,其上的故障电压将远远超过50V;若固定式电气设备切断故障回路的时间仍为5s,则该故障电压同样将通过保护导体对使用手持式电气设备的人造成电击伤害。这时采用上述相同的两种办法可以解决问题。 图6 同一配电箱或配电干线间接引出的不同回路 1-连线配电箱;2-配电箱;3-手持式电气设备; 4-结构钢筋;5-保护导体;6-固定式电气设备 5.2.12 第5.2.11条规定的公式主要是说明为了使保护导体和与之连接的外露可导电部分的对地电压不超过50V,所有与系统接地极并联的接地电阻应该越小越好。事实上,由于相导体与大地之间的接地电阻的阻值难以确定,很难保证保护导体和与之连接的外露导电部分的对地电压不超过50V,所以在室外无法做总等电位联结的场所往往采用TT系统或局部TT系统,以避免保护导体传导故障电压造成电击事故。 5.2.13 用一般的过电流保护器(熔断器、断路器)兼作间接接触防护电器最为经济简单,应优先采用。如过电流保护不能满足本规范式(5.2.8)要求时,采用剩余电流动作保护器最为有效,但都需设保护导体。 (Ⅲ)TT系统 5.2.14 当TT系统配电线路内由同一保护电器保护的几个外露导电部分之间相距较远时,每个外露导电部分的保护导体可连接至各自的接地极上。 当有多级保护时,如果被保护的各级外露导电部分在一个建筑物内,则应采用共同的接地极;如果被保护的各级外露导电部分在不同的建筑物内,或在屋外相距较远的地方,则各级应采用各自的接地极。 5.2.15、5.2.16 TT系统的故障回路阻抗包括变压器相线和接地故障点阻抗以及外露导电体接地电阻和变压器中性点接地电阻。故障回路阻抗大,故障电流小,且按照IEC技术文件的解释,其故障阻抗包括难以估计的接触电阻。因此,TT系统的故障回路阻抗和故障电流是难以估算的,它不能用TN系统的本规范式(5.2.8)来验算保护的有效性,而需用式(5.2.15)来验算保护的有效性。从式(5.2.15)可知,保护动作的条件是当外露导体对地电压达到或超过50V时保护电器应动作,这时的故障电流应大于保护电器的动作电流,即: RAIa≤50V (3) 在切断接地故障前,TT系统外露导电部分呈现的电压往往超过50V,因此仍需按规定时间切断故障。当采用反时限特性过电流保护电器时,应在不超过5s的时间内切断故障,但对于手握式和移动式设备应按接触电压来确定切断故障回路的时间,这实际上是难以做到的。所以TT系统通常采用剩余电流动作保护。 5.2.17 配电线路间接接触防护的保护电器的动作特性不符合本规范式(5.2.15)的要求时,要采取局部等电位联结或辅助等电位联结的措施,将接触电压降至50V以下。 (Ⅳ)IT系统 5.2.19 IT系统有两种型式,即电源中性点对地绝缘或者串经接地阻抗接地。正常工作的IT系统如一相发生接地故障(被称作第一次接地故障),中性点对地绝缘的IT系统的故障电流决定于另外两个非故障接地相的对地电容值;中性点经接地阻抗接地的IT系统的故障电流则受接地阻抗的限制;因此IT系统的接地故障电流很小,可以继续供电。正因为如此,对供电可靠性要求很高的场合,配电系统往往采取IT系统。 IT系统的第一次接地故障电流值需加以限制,以保证接地故障电压不超过50V,这时不需切断故障回路,只作用于信号报警。这样既不会发生电击事故,又可保证供电的连续性。运行人员接到报警信号后应及时排除第一次接地故障。否则,当另一相再发生接地故障时(被称作异相接地故障或第二次接地故障)将发展成相间短路,导致供电中断。 为了使IT系统第一次接地故障时装置的接触电压小于等于50V,应减少配电系统的对地电容,例如限制装置线路的总长度。 5.2.22 IT系统不宜配出中性导体,是因为中性导体无法进行绝缘监测,当其发生接地故障时,IT系统其实已经成为TN或者TT系统。这时如果出现接地故障,保护电器就会按照TN或者TT系统的要求切断故障回路,使得供电中断。IT系统则失去了供电可靠性高的优势。